Publié le 9 mai 2026 à 07h00
- Air Journal
-
- siège affaires
siège affaires
Articles récents
Publié le 29 mars 2026 à 12h00 par Thierry Blancmont
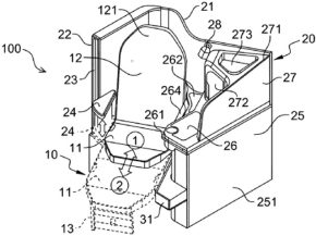
Airbus a déposé un brevet visant à transformer en profondeur les sièges de classe Affaires sur ses avions, qu’ils soient gros-porteurs ou moyen-courriers, a révélé le site Simple Flying. Ce dépôt, consultable sur la base PATENTSCOPE de l’OMPI, propose une conception modulaire qui permet de proposer un vrai lit à plat tout en augmentant la […]
Faire un don
Appel aux lecteurs !
Soutenez Air Journal participez à son développement !
Derniers commentaires
Brnfraj khalil a commenté l'article :
Résultats historiques : Emirates récompense ses 131 000 employés avec 20 semaines de salaireAnna Stazzi a commenté l'article :
Au revoir Air France-KLM ? Le groupe prépare sa mue en « Blue Group »Anna Stazzi a commenté l'article :
Au revoir Air France-KLM ? Le groupe prépare sa mue en « Blue Group »@dreamliner a commenté l'article :
Embraer choisit Bharat Forge et accélère son ancrage industriel en IndeAbonnement
Publicité
masquée
Nos abonnés bénéficient d'une navigation fluide sans bandeaux publicitaires pour une meilleure lecture de nos contenus.
Pseudonyme
réservé
Votre pseudonyme est validé à partir de votre adresse mail, empêchant qu'un autre lecteur publie un commentaire à votre place.
Commentaire
instantané
Votre commentaire est publié instantanément. Les commentaires des non-abonnés ne sont publiés qu'après modération par notre équipe.
Articles les plus
consultés du mois
Publié le 7 mai 2026 à 12h00 par Alain Hai
Publié le 3 mai 2026 à 12h00 par Alain Hai
Publié le 1 mai 2026 à 12h00 par Joël Ricci